
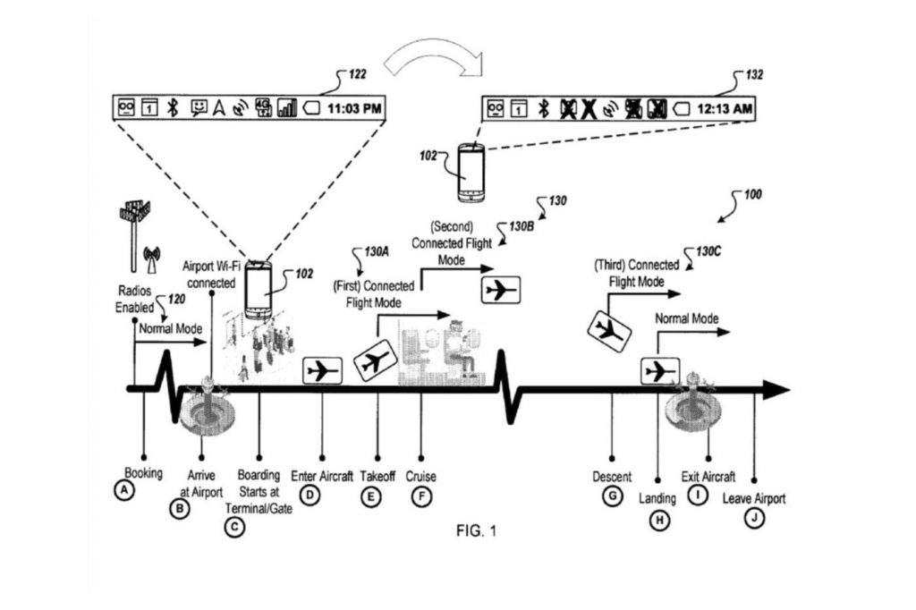
Il s’appelle Connected Flight Mode et il vient d’être breveté par Google pour en finir avec les risques d’interférence avec les appareils des avions et des aéroports. Emplacement géographique, bruit, mouvement… votre smartphone usera de tous ses détecteurs pour suivre la progression de votre vol.



